Как устроены и работают новогодние гирлянды
Как устроены и работают новогодние гирлянды
Новогодние праздники наступают как всегда неожиданно и приносят с собой много приятных хлопот. Пора задуматься о подарках, в первую очередь детям, для взрослых накрыть стол, подобрать хорошую музыку и обязательно поставить елку, которую нарядить, чтобы гостям было весело и уютно. И первое, что предстоит повесить на елку это, конечно, елочные гирлянды. Все остальные игрушки, как правило, вешаются после гирлянд. Далее будет рассказано об устройстве самых разных самых разных новогодних гирлянд - старых и современных.

В давние времена, когда не было электричества, а Новый год уже праздновали, на елке зажигали специальные новогодние свечи. Такое украшение было очень пожароопасным. Но эти времена уже прошли, все стали пользоваться электрическими гирляндами.
В ход пошли различной конструкции малогабаритные патроны для ламп и цветные плафоны разной формы. Иногда плафоны делались прозрачными, а окрашивались сами лампы.
Когда-то такие конструкции разрабатывали радиолюбители, эти схемы публиковались в радиолюбительских журналах. В качестве элементной базы использовались микросхемы малой степени интеграции, в первую очередь К155 и К561 и их разновидности.
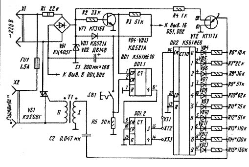
В журнале «Радио» №11 1995 г., опубликована схема под названием «Автомат плавного управления гирляндой» автор А.Чумаков. Схема обеспечивает поочередное плавное зажигание и гашение гирлянды со скоростью, задаваемой блоком управления. Схема устройства показана на рисунке 1.

Рисунок 1. Схема автомата плавного управления гирляндой
Если присмотреться внимательней, схема представляет симисторный регулятор мощности, выполненный на двухбазовом транзисторе КТ117А. Только скорость заряда конденсатора меняется не вручную с помощью переменного резистора, а переключением отдельных резисторов с помощью счетчика – дешифратора К561ИЕ8.
Далее в ход пошло:
"Микроконтроллерное управление новогодней гирляндой"...

