Регистраторы срабатывания для вентильных разрядников
.jpg)
Назначение
Регистраторы срабатывания вентильных разрядников предназначены для отсчета числа срабатываний разрядников от коммутационных и атмосферных перенапряжений. Регистраторы соответствуют ТУШ -534.013-80.
Условия эксплуатации
Регистраторы предназначены для эксплуатации в районах с умеренным и тропическим климатом при температуре окружающего воздуха:
от -45 до +40°С - дляисполненияУ1;
от-10 до + 50°С - для исполнения Т1.
Высота установки над уровнем моря не более 1000м.
Относительная влажность воздуха:
при температуре +25°С до 100% - дляисполненияУ1;
при температуре +35°С до 100% - для исполнения Т1.
Конструкция
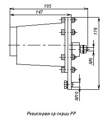
Регистратор срабатывания состоит из электромагнитного счетчика и блока нелинейных резисторов, размещенных в герметично закрытом корпусе.
Регистраторы включаются последовательно в цепь разрядников.
Ссылка на товары: http://www.kabelivsem.ru/cat.php?lang=ru&id=704

