Разъединители РРП на напряжение 1,5 кВ, ток 40000А и 50000А
.png)
Назначение
Разъединитель предназначен для включения и отключения под напряжением обесточенных частей распределительного устройства и отдельных аппаратов процесса электролиза цветных металлов.
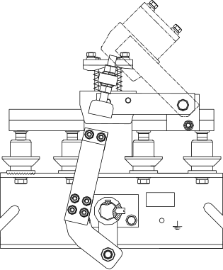
Конструктивно разъединитель выполнен в виде двух блоков, управляемых одним приводом. Каждый блок предназначен для прохождения 1/2 величины номинального тока. Блок состоит из рамы с неподвижными изоляторами, токоведущей системы, состоящей из неподвижных и подвижных клиновых пластинчатых контактов.
Используемые приводы - ручной ПЧ - 50 МУЗ или электродвигательный ПД -14 -10УХЛ1.
Использование клиновых контактов обеспечивает высокую надежность и долговечность работы аппаратов.
Конструкция контакта защищена патентом РФ № 2020623.
Ссылка на товары: http://www.kabelivsem.ru/cat.php?lang=ru&id=654

