Разъединители РРП на напряжение 1,5 кВ и ток 20000А

Назначение
Разъединитель предназначен для включения и отключения под напряжением обесточенных частей распределительного устройства и отдельных аппаратов процесса электролиза цветных металлов.
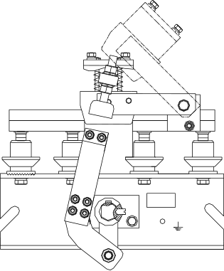
Конструктивно разъединитель выполнен в виде блока, управляемого одним приводом. Блок состоит из рамы с неподвижными изоляторами, токоведущей системы, состоящей из неподвижных и подвижных клиновых пластинчатых контактов. Используемый привод - электродвигательный типа ПД14 -10УХП1 или ручной привод ПЧ-50МУЗ.
Использование клиновых контактов обеспечивает высокую надежность и долговечность работы аппарата.
Конструкция контакта защищена патентом РФ № 2020623
Ссылка на товары: http://www.kabelivsem.ru/cat.php?lang=ru&id=653

